ZFB系列防閉塞裝置
概述
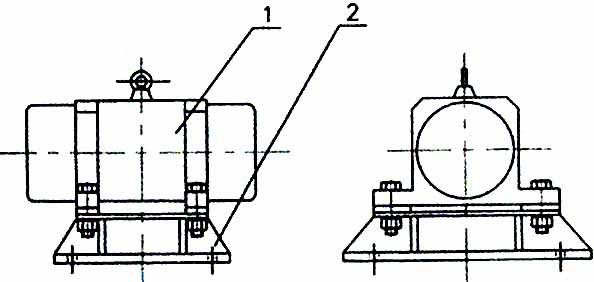
ZFB系列防(fang)閉塞(sai)裝置(zhi)由振(zhen)(zhen)(zhen)動(dong)(dong)(dong)電機和(he)(he)底(di)座兩(liang)部分(fen)組成。由于(yu)底(di)座緊固地(di)安裝在料(liao)(liao)倉(cang)壁上,振(zhen)(zhen)(zhen)動(dong)(dong)(dong)電機和(he)(he)底(di)座由螺栓(shuan)緊密地(di)固定為一體。這樣就構成了(le)單質點定向強迫(po)振(zhen)(zhen)(zhen)動(dong)(dong)(dong)系統。當防(fang)閉塞(sai)裝置(zhi)開始工(gong)作時,振(zhen)(zhen)(zhen)動(dong)(dong)(dong)電機的(de)(de)(de)高速轉動(dong)(dong)(dong)。由于(yu)ZFB系列防(fang)閉塞(sai)裝置(zhi)的(de)(de)(de)周(zhou)期性振(zhen)(zhen)(zhen)動(dong)(dong)(dong),便(bian)產生了(le)對(dui)料(liao)(liao)倉(cang)壁的(de)(de)(de)周(zhou)期性高頻振(zhen)(zhen)(zhen)動(dong)(dong)(dong)。使物(wu)(wu)料(liao)(liao)受(shou)交變速度和(he)(he)加速度的(de)(de)(de)影響,處于(yu)不穩定狀態,同時,使物(wu)(wu)料(liao)(liao)與(yu)倉(cang)壁脫離接觸、消除物(wu)(wu)料(liao)(liao)與(yu)倉(cang)壁的(de)(de)(de)摩擦。進而有效地(di)消除料(liao)(liao)倉(cang)內物(wu)(wu)料(liao)(liao)間的(de)(de)(de)相對(dui)穩定性,克服了(le)物(wu)(wu)料(liao)(liao)的(de)(de)(de)內摩擦力和(he)(he)聚集力,以(yi)使物(wu)(wu)料(liao)(liao)從料(liao)(liao)倉(cang)口順利排出。
特點
1、防閉塞裝置體積小、重量輕、高效節能、安裝簡單等特點。
2、ZFB系列防閉塞裝置是以振動電機為激振源的節能通用型產品。
3、能有效的紹消除內磨擦、潮解、帶電、成分偏析等原因導致的架橋、搭拱、堵塞現象。
ZFB系列防閉塞裝置 :

ZFB系列防閉塞裝置結構圖:


參數
ZFB系列(lie)防閉塞裝的性能參(can)數
該產品執行標(biao)準參照(zhao)JB5330-91《振動三相異步電動機》。
|
型號
|
電 壓
(V) |
功 率
(W) |
適倉壁板厚(mm)
|
倉鉗部容量(T)
|
激振力kg
|
振 動
頻 率 (min-1) |
振幅mm
|
外形尺寸(長*寬*高)
|
重量
(kg) |
|
ZFB-3
|
380
|
0..09
|
2~3
|
0.5
|
100
|
3000
|
1.5
|
258*260*198
|
11
|
|
ZFB-4
|
0.18
|
3.2~4.5
|
1
|
200
|
1.5
|
320*326*265
|
28
|
||
|
ZFB-5
|
0.25
|
4.5~6
|
3
|
300
|
2
|
360*328*255
|
40
|
||
|
ZFB-6
|
0.37
|
6~8
|
10
|
500
|
2
|
370*460*310
|
60
|
||
|
ZFB-9
|
0.75
|
8~10
|
20
|
1000
|
4
|
427*460*374
|
90
|
||
|
ZFB-12
|
1.5
|
10~13
|
50
|
2000
|
4
|
470*482*420
|
196
|
||
|
ZFB-20
|
2.2
|
13~25
|
150
|
3000
|
5
|
535*520*432
|
220
|
||
|
ZFB-30
|
3.7
|
25~40
|
200
|
5000
|
5
|
553*610*453
|
280
|
ZFB系(xi)列(lie)防閉塞裝(zhuang)外型尺寸
|
型號
|
ZFB-3
|
ZFB-4
|
ZFB-5
|
ZFB-6
|
ZFB-9
|
ZFB-12
|
ZFB-20
|
ZFB-30
|
|
L
|
258
|
320
|
360
|
370
|
440
|
470
|
535
|
553
|
|
A
|
239
|
253
|
280
|
298
|
419
|
423
|
470
|
495
|
|
B
|
260
|
326
|
328
|
460
|
462
|
482
|
520
|
610
|
|
H
|
198
|
265
|
255
|
310
|
374
|
420
|
432
|
453
|
|
C
|
199
|
213
|
240
|
248
|
369
|
363
|
410
|
435
|
|
D
|
220
|
286
|
288
|
410
|
412
|
422
|
460
|
550
|
|
Φ
|
10
|
12
|
14
|
16
|
20
|
22
|
34
|
34
|
用途
ZFB系(xi)列防(fang)閉(bi)塞裝(zhuang)置是保證穩定供料(liao)所(suo)必需(xu)的設備。主(zhu)要是依靠(kao)高(gao)頻振動和沖擊力,使物從料(liao)倉(cang)口順利排出,因而廣泛用(yong)于冶金、食(shi)品、水泥、煤炭、化(hua)肥(fei)、糧食(shi)、鑄造(zao)、陶瓷、制藥(yao)、化(hua)工、建材(cai)、火電、磨料(liao)等(deng)行業中貯料(liao)倉(cang)的防(fang)閉(bi)塞之用(yong)。
相關產品
-
CZ系列倉壁振動器
CZ系列倉(cang)壁(bi)振動器(qi)(qi)(振打器(qi)(qi))可用于(yu)清除(chu)各種倉(cang)壁(bi)、管道粘結物料,防止和排除(chu)各種料倉(cang)由于(yu)物料的(de)內磨(mo)擦、潮解、帶(dai)電、成份偏析(xi)等原因引起的(de)堵塞、搭(da)拱現象。
立即了解?CZ系列倉壁振動器
-
BZF倉壁振動器
BZF倉(cang)壁(bi)振(zhen)動(dong)器是(shi)(shi)以振(zhen)動(dong)電(dian)(dian)機為激振(zhen)源的(de)節能(neng)通過(guo)型產品(pin),它是(shi)(shi)靠高頻(pin)振(zhen)動(dong)和沖擊力,有效(xiao)地消除由于內摩擦、潮解、帶電(dian)(dian)、成分偏析等原因而(er)引(yin)起的(de)架橋、搭拱、堵塞等現象(xiang),從而(er)使(shi)物料從倉(cang)口(kou)順(shun)利排出,保證穩定(ding)供料所必需的(de)設備。
立即了解?BZF倉壁振動器
-
LZF倉壁振動器
LZF倉壁振(zhen)動(dong)器工作時,振(zhen)動(dong)電(dian)機的高(gao)速轉動(dong),便產(chan)生了對料(liao)倉壁的周期性高(gao)頻振(zhen)動(dong),由于防閉(bi)塞裝(zhuang)置的周期性振(zhen)動(dong),一方面使(shi)物料(liao)與倉壁脫離接(jie)觸、消除物料(liao)與倉壁的摩擦
立即了解?LZF倉壁振動器
-
TZF倉壁振動器
TZF系列倉壁振(zhen)動器是以振(zhen)動電機為(wei)激振(zhen)源(yuan)的節能(neng)通用型產品,它是靠高(gao)頻振(zhen)動和(he)沖擊力,有效地消除(chu)物料(liao)由于(yu)內磨擦、潮解(jie)、帶電、成分偏析等原因而引起的架橋(qiao)、搭(da)拱、堵塞現象,從而使(shi)物從料(liao)倉口順利排出,保(bao)證穩定供料(liao)所必需(xu)的設備。
立即了解?TZF倉壁振動器
-
料倉破拱
料(liao)倉破(po)拱是(shi)保證穩定供料(liao)所(suo)必(bi)需的(de)設(she)備,主要是(shi)依(yi)靠高頻(pin)振動和沖擊力,使物從料(liao)倉口順利排出(chu),因而廣(guang)泛用于冶金、食品、水泥(ni)、煤炭、化肥、糧食、鑄(zhu)造、陶瓷、制藥、化工、建材、火(huo)電、磨料(liao)等行業中貯料(liao)倉的(de)防閉塞之(zhi)用。
立即了解?料倉破拱
-
料倉防堵器
料倉(cang)防(fang)堵器由(you)(you)振動電(dian)機(ji)和底(di)座兩(liang)部(bu)分組成,由(you)(you)于底(di)座緊(jin)固地安(an)裝(zhuang)在料倉(cang)壁(bi)上,振動電(dian)機(ji)和底(di)座由(you)(you)螺栓緊(jin)密地固定為一體。由(you)(you)于料倉(cang)防(fang)堵器的周期性(xing)振動,便(bian)產生了對料倉(cang)壁(bi)的周期性(xing)高頻(pin)振動。
立即了解?料倉防堵器
-
料倉振打器
料(liao)倉(cang)振打(da)器可用于(yu)清除各種(zhong)倉(cang)壁(bi)、管道粘結物(wu)料(liao),防止和排除各種(zhong)料(liao)倉(cang)由于(yu)物(wu)料(liao)的內磨擦、潮解、帶電、成份偏(pian)析(xi)等原因引起的“堵塞”、“搭拱”現象(xiang)。但對粘性(xing)物(wu)料(liao)料(liao)倉(cang)振打(da)器的破拱能力(li)將會顯著降低。
立即了解?料倉振打器
-
電動振動器
電(dian)(dian)(dian)(dian)動(dong)(dong)(dong)振動(dong)(dong)(dong)器(qi)由(you)振動(dong)(dong)(dong)電(dian)(dian)(dian)(dian)機和底(di)座兩(liang)部(bu)分組成(cheng),由(you)于底(di)座緊固地安裝(zhuang)在料(liao)倉壁上,振動(dong)(dong)(dong)電(dian)(dian)(dian)(dian)機和底(di)座由(you)螺(luo)栓緊密(mi)地固定(ding)為(wei)一體。這樣就(jiu)構成(cheng)了單(dan)質點定(ding)向(xiang)強(qiang)迫振動(dong)(dong)(dong)系(xi)統。電(dian)(dian)(dian)(dian)動(dong)(dong)(dong)振動(dong)(dong)(dong)器(qi)開(kai)始工作時,振動(dong)(dong)(dong)電(dian)(dian)(dian)(dian)機的高(gao)速轉動(dong)(dong)(dong)。電(dian)(dian)(dian)(dian)動(dong)(dong)(dong)振動(dong)(dong)(dong)器(qi)產生了對(dui)料(liao)倉壁的周(zhou)期(qi)性(xing)高(gao)頻振動(dong)(dong)(dong)。
立即了解?電動振動器
動態
-
25
2024-04
倉壁振動器的工作原理及使用注意點
倉壁振動器的操作方便、高效節能、安(an)裝簡單,廣泛用(yong)于(yu)電(dian)力、煤炭、建材、礦(kuang)山、化工(gong)、冶(ye)金、鑄造、輕工(gong)、糧食、交(jiao)通等各種行業(ye)。
-
16
2014-06
料倉振動防閉塞裝置的應用
主要(yao)是(shi)防止和(he)消除各(ge)種料(liao)倉(cang)、料(liao)罐、料(liao)門內物料(liao)的磨擦、潮解(jie)、帶電、成份偏析等原(yuan)因引(yin)起的起拱、管(guan)壯通道、粘倉(cang)等閉塞現象的專(zhuan)業設(she)備。料(liao)倉(cang)振動(dong)防閉塞裝置可以使物料(liao)從料(liao)倉(cang)口流暢輸出,保證整個生產(chan)流程正常工(gong)作,提高物料(liao)輸送自(zi)動(dong)化程度。
-
10
2014-06
防閉塞裝置使用時的注意事項
倉(cang)壁振動(dong)器節制箱與溜槽(cao)檢測器一(yi)起(qi)運用,可隨(sui)時檢測和防止溜槽(cao)堵塞缺點的發生(sheng),提(ti)高自動(dong)化程度。該裝置具有(you)斷相、過流、短路(lu)等(deng)維(wei)護,還具有(you)電源(yuan)指示,上限停機指示,缺點報警等(deng)功用。
-
01
2014-03
倉壁振動器的原理及用途
倉(cang)壁(bi)振(zhen)動器又稱振(zhen)動防(fang)防(fang)閉(bi)塞(sai)裝置(zhi),用(yong)來使(shi)料(liao)(liao)倉(cang)、料(liao)(liao)罐(guan)或料(liao)(liao)斗漏(lou)料(liao)(liao)段的傾斜壁(bi)高頻振(zhen)動,以防(fang)止倉(cang)(罐(guan)、斗)內的物料(liao)(liao)起(qi)拱、出現管狀(zhuang)通(tong)道、倉(cang)壁(bi)粘料(liao)(liao)等不暢流(liu)現象(xiang),以保證物料(liao)(liao)從料(liao)(liao)倉(cang)、料(liao)(liao)罐(guan)或料(liao)(liao)斗中順(shun)暢流(liu)出
-
01
2012-03
倉壁振動器的小小介紹
倉壁振動器(qi)也(ye)稱(cheng)防閉塞裝(zhuang)置、倉壁振打器(qi),用于防止和排除各(ge)種慣性振動器(qi)由于物(wu)料的(de)內摩擦(ca)、潮解、帶電、成分(fen)偏(pian)析等原(yuan)因引起的(de)“堵塞”、“塔拱”現(xian)象。
熱銷產品
-
DZSF直線振動篩
DZSF系列直(zhi)線振(zhen)動(dong)(dong)篩(shai)是(shi)由篩(shai)箱、篩(shai)框、振(zhen)動(dong)(dong)電(dian)(dian)機、減振(zhen)系統(tong)及座架等(deng)組成。直(zhi)線振(zhen)動(dong)(dong)篩(shai)是(shi)用(yong)振(zhen)動(dong)(dong)電(dian)(dian)機作(zuo)為振(zhen)動(dong)(dong)源(yuan),固定在(zai)篩(shai)箱上兩(liang)臺相同的振(zhen)動(dong)(dong)電(dian)(dian)機做相反方(fang)向自(zi)同步旋轉,振(zhen)動(dong)(dong)電(dian)(dian)機所(suo)帶的偏心塊在(zai)旋轉時各個瞬間位置所(suo)產生的離(li)心力之分(fen)力沿拋擲方(fang)向作(zuo)往復運動(dong)(dong)
立即了解?DZSF直線振動篩
-
CZ系列倉壁振動器
CZ系(xi)列倉壁振動器(振打器)可用(yong)于清(qing)除各種倉壁、管道粘結物料,防止(zhi)和排除各種料倉由于物料的內磨擦、潮解、帶電、成(cheng)份偏(pian)析(xi)等原因引起的堵塞、搭拱現象。
立即了解?CZ系列倉壁振動器
-
ZG系列慣性振動器
ZG系列慣性振動(dong)(dong)(dong)器可直接用(yong)于作為倉壁(bi)振動(dong)(dong)(dong)器且慣性振動(dong)(dong)(dong)器使用(yong)方(fang)便(bian)、結構(gou)簡單是利(li)用(yong)裝在特制的雙出(chu)軸(zhou)三(san)相異步電(dian)機(ji)轉(zhuan)子兩端的偏心塊(kuai)提(ti)供振動(dong)(dong)(dong)力的一種新(xin)型振動(dong)(dong)(dong)驅動(dong)(dong)(dong)裝置。
立即了解?ZG系列慣性振動器
-
GZ系列電磁振動給料機
GZ系(xi)列電磁振動給(gei)料機(ji)在生產流程中(zhong),用于把塊狀、顆粒(li)狀、粉狀物料從貯料倉或漏斗中(zhong)定(ding)量、均勻、連續地給(gei)到受料裝置中(zhong)去。
立即了解?GZ系列電磁振動給料機