電動振動器
概述
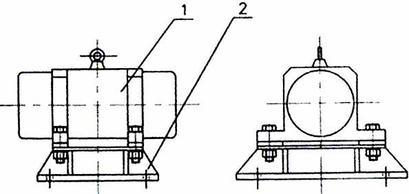
電動振(zhen)(zhen)(zhen)動器(qi)由(you)振(zhen)(zhen)(zhen)動電機和(he)底座(zuo)兩(liang)部分(fen)組成,由(you)于底座(zuo)緊固地安裝在料(liao)倉(cang)(cang)壁上,振(zhen)(zhen)(zhen)動電機和(he)底座(zuo)由(you)螺栓緊密地固定(ding)為一體。這樣(yang)就構成了單質點定(ding)向強(qiang)迫振(zhen)(zhen)(zhen)動系(xi)統。電動振(zhen)(zhen)(zhen)動器(qi)開始工作(zuo)時,振(zhen)(zhen)(zhen)動電機的(de)(de)高(gao)速轉動。電動振(zhen)(zhen)(zhen)動器(qi)產生了對(dui)料(liao)倉(cang)(cang)壁的(de)(de)周期性高(gao)頻振(zhen)(zhen)(zhen)動。使(shi)(shi)物(wu)(wu)料(liao)受交(jiao)變速度(du)和(he)加(jia)速度(du)的(de)(de)影(ying)響,處于不(bu)穩定(ding)狀態,同時,使(shi)(shi)物(wu)(wu)料(liao)與倉(cang)(cang)壁脫離接(jie)觸、消除(chu)(chu)物(wu)(wu)料(liao)與倉(cang)(cang)壁的(de)(de)摩擦。進而有(you)效地消除(chu)(chu)料(liao)倉(cang)(cang)內物(wu)(wu)料(liao)間的(de)(de)相對(dui)穩定(ding)性,克(ke)服了物(wu)(wu)料(liao)的(de)(de)內摩擦力和(he)聚(ju)集力,以使(shi)(shi)物(wu)(wu)料(liao)從料(liao)倉(cang)(cang)口順利(li)排出。
特點
1、電動振動器體積小、重量輕、高效節能、安裝簡單等特點。
2、電動振動器是以振動電機為激振源的節能通用型產品。
3、能有效的(de)紹消除內磨(mo)擦(ca)、潮解、帶電(dian)、成(cheng)分(fen)偏析等原因導致的(de)架橋(qiao)、搭拱(gong)、堵塞(sai)現(xian)象(xiang)。

參數
|
型號
|
電 壓
(V) |
功 率
(W) |
適倉壁板厚(mm)
|
倉鉗部容量(T)
|
激振力kg
|
振 動
頻 率 (min-1) |
振幅mm
|
外形尺寸(長*寬*高)
|
重量
(kg) |
|
ZFB-3
|
380
|
0..09
|
2~3
|
0.5
|
100
|
3000
|
1.5
|
258*260*198
|
11
|
|
ZFB-4
|
0.18
|
3.2~4.5
|
1
|
200
|
1.5
|
320*326*265
|
28
|
||
|
ZFB-5
|
0.25
|
4.5~6
|
3
|
300
|
2
|
360*328*255
|
40
|
||
|
ZFB-6
|
0.37
|
6~8
|
10
|
500
|
2
|
370*460*310
|
60
|
||
|
ZFB-9
|
0.75
|
8~10
|
20
|
1000
|
4
|
427*460*374
|
90
|
||
|
ZFB-12
|
1.5
|
10~13
|
50
|
2000
|
4
|
470*482*420
|
196
|
||
|
ZFB-20
|
2.2
|
13~25
|
150
|
3000
|
5
|
535*520*432
|
220
|
||
|
ZFB-30
|
3.7
|
25~40
|
200
|
5000
|
5
|
553*610*453
|
280
|
外型尺寸(cun)
|
型號
|
ZFB-3
|
ZFB-4
|
ZFB-5
|
ZFB-6
|
ZFB-9
|
ZFB-12
|
ZFB-20
|
ZFB-30
|
|
L
|
258
|
320
|
360
|
370
|
440
|
470
|
535
|
553
|
|
A
|
239
|
253
|
280
|
298
|
419
|
423
|
470
|
495
|
|
B
|
260
|
326
|
328
|
460
|
462
|
482
|
520
|
610
|
|
H
|
198
|
265
|
255
|
310
|
374
|
420
|
432
|
453
|
|
C
|
199
|
213
|
240
|
248
|
369
|
363
|
410
|
435
|
|
D
|
220
|
286
|
288
|
410
|
412
|
422
|
460
|
550
|
|
Φ
|
10
|
12
|
14
|
16
|
20
|
22
|
34
|
34
|
用途
電動振(zhen)動器(qi)是保證穩定供(gong)料(liao)(liao)所必需的(de)設備,主要是依(yi)靠高頻振(zhen)動和沖(chong)擊力(li),使(shi)物(wu)從料(liao)(liao)倉口順利排出,因而(er)廣泛用(yong)于冶金(jin)、食(shi)品(pin)、水(shui)泥、煤炭(tan)、化(hua)肥、糧食(shi)、鑄造、陶瓷(ci)、制(zhi)藥(yao)、化(hua)工、建(jian)材、火電、磨料(liao)(liao)等行業中貯(zhu)料(liao)(liao)倉的(de)防閉塞(sai)之用(yong)。
相關產品
-
CZ系列倉壁振動器
CZ系列(lie)倉(cang)(cang)壁(bi)振(zhen)動器(振(zhen)打(da)器)可用于清除(chu)各(ge)種倉(cang)(cang)壁(bi)、管(guan)道粘結物料,防止和(he)排除(chu)各(ge)種料倉(cang)(cang)由于物料的內磨擦、潮解、帶電、成份(fen)偏(pian)析等原(yuan)因引起的堵塞、搭拱現(xian)象。
立即了解?CZ系列倉壁振動器
-
ZFB系列防閉塞裝置
ZFB系(xi)列防閉塞裝置由(you)振(zhen)動(dong)電機和(he)底座(zuo)兩部分組成。由(you)于底座(zuo)緊固地安裝在料倉(cang)壁上(shang),振(zhen)動(dong)電機和(he)底座(zuo)由(you)螺栓緊密(mi)地固定為一體。這樣就構成了單質點(dian)定向(xiang)強迫振(zhen)動(dong)系(xi)統。當防閉塞裝置開(kai)始工作時,振(zhen)動(dong)電機的高速(su)轉動(dong)。
立即了解?ZFB系列防閉塞裝置
-
BZF倉壁振動器
BZF倉壁振(zhen)(zhen)動(dong)器是以振(zhen)(zhen)動(dong)電(dian)機(ji)為激振(zhen)(zhen)源的(de)節(jie)能通過(guo)型產品,它是靠高頻振(zhen)(zhen)動(dong)和沖擊力,有效地消(xiao)除由于內摩擦、潮(chao)解(jie)、帶電(dian)、成分(fen)偏析等原因而引起(qi)的(de)架橋、搭拱、堵塞等現象,從(cong)而使物料(liao)從(cong)倉口順(shun)利排出,保證(zheng)穩定供料(liao)所必需的(de)設備。
立即了解?BZF倉壁振動器
-
LZF倉壁振動器
LZF倉壁振(zhen)動(dong)(dong)(dong)(dong)器工(gong)作(zuo)時,振(zhen)動(dong)(dong)(dong)(dong)電機的(de)高(gao)速轉動(dong)(dong)(dong)(dong),便(bian)產生了(le)對料倉壁的(de)周(zhou)期(qi)性高(gao)頻振(zhen)動(dong)(dong)(dong)(dong),由于防閉塞裝(zhuang)置的(de)周(zhou)期(qi)性振(zhen)動(dong)(dong)(dong)(dong),一方面(mian)使物(wu)料與倉壁脫離接觸、消除物(wu)料與倉壁的(de)摩擦
立即了解?LZF倉壁振動器
-
TZF倉壁振動器
TZF系(xi)列倉(cang)壁振(zhen)動器(qi)是以振(zhen)動電機為(wei)激(ji)振(zhen)源的節能通用型產品(pin),它是靠(kao)高頻振(zhen)動和沖(chong)擊(ji)力(li),有效地(di)消除(chu)物(wu)料(liao)由于內磨擦、潮解、帶電、成(cheng)分(fen)偏析(xi)等原因而引起的架橋、搭拱(gong)、堵塞現象(xiang),從而使物(wu)從料(liao)倉(cang)口(kou)順利排出,保證穩定供料(liao)所必需(xu)的設備。
立即了解?TZF倉壁振動器
-
料倉破拱
料(liao)倉(cang)破拱是(shi)保證穩定供料(liao)所必需的設(she)備,主(zhu)要是(shi)依(yi)靠高(gao)頻振動和沖擊(ji)力(li),使物從料(liao)倉(cang)口(kou)順(shun)利(li)排出,因而廣泛用于冶金、食品、水泥、煤(mei)炭、化肥、糧食、鑄造、陶瓷、制藥、化工(gong)、建材(cai)、火電(dian)、磨料(liao)等行(xing)業(ye)中貯(zhu)料(liao)倉(cang)的防閉塞(sai)之用。
立即了解?料倉破拱
-
料倉防堵器
料倉(cang)防(fang)(fang)堵(du)器由(you)(you)振(zhen)動(dong)(dong)(dong)電(dian)機(ji)和(he)(he)底座兩部分組成(cheng),由(you)(you)于底座緊(jin)固(gu)地安裝在料倉(cang)壁上,振(zhen)動(dong)(dong)(dong)電(dian)機(ji)和(he)(he)底座由(you)(you)螺栓緊(jin)密(mi)地固(gu)定為一體。由(you)(you)于料倉(cang)防(fang)(fang)堵(du)器的(de)周期性振(zhen)動(dong)(dong)(dong),便產生了對(dui)料倉(cang)壁的(de)周期性高頻振(zhen)動(dong)(dong)(dong)。
立即了解?料倉防堵器
-
料倉振打器
料倉(cang)(cang)振打器可用于清除(chu)各種倉(cang)(cang)壁、管(guan)道粘結物料,防止和排除(chu)各種料倉(cang)(cang)由于物料的內磨擦、潮解、帶電、成份偏析等(deng)原因引起的“堵塞(sai)”、“搭(da)拱”現象。但對粘性物料料倉(cang)(cang)振打器的破拱能力將會顯(xian)著(zhu)降低。
立即了解?料倉振打器
動態
-
25
2024-04
倉壁振動器的工作原理及使用注意點
倉壁振動器的操作方便、高效節能(neng)、安裝簡單,廣泛(fan)用于(yu)電力(li)、煤炭、建材、礦山、化工、冶金、鑄造、輕工、糧食、交(jiao)通等(deng)各種行業。
-
16
2014-06
料倉振動防閉塞裝置的應用
主(zhu)要(yao)是(shi)防止和消除各種料(liao)(liao)(liao)倉、料(liao)(liao)(liao)罐(guan)、料(liao)(liao)(liao)門內物(wu)料(liao)(liao)(liao)的磨擦(ca)、潮解(jie)、帶(dai)電、成份(fen)偏析等原因引起的起拱、管壯通道、粘倉等閉(bi)塞現象的專業(ye)設備。料(liao)(liao)(liao)倉振動(dong)防閉(bi)塞裝(zhuang)置可以使物(wu)料(liao)(liao)(liao)從料(liao)(liao)(liao)倉口流(liu)暢輸(shu)出(chu),保證(zheng)整個(ge)生產流(liu)程正(zheng)常工作,提(ti)高物(wu)料(liao)(liao)(liao)輸(shu)送自(zi)動(dong)化程度(du)。
-
10
2014-06
防閉塞裝置使用時的注意事項
倉(cang)壁振動(dong)器節制箱與溜槽(cao)檢(jian)測(ce)器一起運用,可隨時檢(jian)測(ce)和防止(zhi)溜槽(cao)堵塞缺點(dian)(dian)的發生,提高自(zi)動(dong)化程度。該(gai)裝置具有斷相、過(guo)流、短路(lu)等維(wei)護,還具有電源指(zhi)示(shi),上限停機指(zhi)示(shi),缺點(dian)(dian)報警等功用。
-
26
2014-05
電動振動器的安裝和運轉
它實際(ji)上就是一個用電(dian)(dian)動(dong)機振動(dong)做(zuo)來(lai)電(dian)(dian)顯示,當眾多的(de)場合(he)時如開會,上課,為了(le)不使手機的(de)振鈴(ling)聲影(ying)響(xiang)他人(ren),而用振動(dong)來(lai)通知,從而得知有來(lai)電(dian)(dian),振動(dong)器工作需要有驅動(dong)電(dian)(dian)路的(de)配合(he)
-
01
2014-03
倉壁振動器的原理及用途
倉(cang)壁(bi)振動(dong)(dong)器又稱振動(dong)(dong)防防閉(bi)塞(sai)裝(zhuang)置,用來使料(liao)(liao)(liao)(liao)(liao)(liao)倉(cang)、料(liao)(liao)(liao)(liao)(liao)(liao)罐(guan)或料(liao)(liao)(liao)(liao)(liao)(liao)斗漏(lou)料(liao)(liao)(liao)(liao)(liao)(liao)段的傾(qing)斜壁(bi)高頻振動(dong)(dong),以防止倉(cang)(罐(guan)、斗)內的物料(liao)(liao)(liao)(liao)(liao)(liao)起拱、出現管狀通道(dao)、倉(cang)壁(bi)粘料(liao)(liao)(liao)(liao)(liao)(liao)等(deng)不(bu)暢流(liu)現象,以保(bao)證物料(liao)(liao)(liao)(liao)(liao)(liao)從料(liao)(liao)(liao)(liao)(liao)(liao)倉(cang)、料(liao)(liao)(liao)(liao)(liao)(liao)罐(guan)或料(liao)(liao)(liao)(liao)(liao)(liao)斗中順暢流(liu)出
熱銷產品
-
DZSF直線振動篩
DZSF系列直線(xian)(xian)振(zhen)(zhen)動(dong)(dong)(dong)(dong)篩是(shi)由篩箱、篩框、振(zhen)(zhen)動(dong)(dong)(dong)(dong)電(dian)(dian)機、減(jian)振(zhen)(zhen)系統及座架等組成。直線(xian)(xian)振(zhen)(zhen)動(dong)(dong)(dong)(dong)篩是(shi)用振(zhen)(zhen)動(dong)(dong)(dong)(dong)電(dian)(dian)機作為振(zhen)(zhen)動(dong)(dong)(dong)(dong)源,固定(ding)在篩箱上(shang)兩(liang)臺相(xiang)同的(de)振(zhen)(zhen)動(dong)(dong)(dong)(dong)電(dian)(dian)機做相(xiang)反方向(xiang)自同步旋轉,振(zhen)(zhen)動(dong)(dong)(dong)(dong)電(dian)(dian)機所(suo)帶(dai)的(de)偏心(xin)塊在旋轉時各(ge)個瞬間位(wei)置所(suo)產(chan)生(sheng)的(de)離(li)心(xin)力之分力沿拋擲方向(xiang)作往復運(yun)動(dong)(dong)(dong)(dong)
立即了解?DZSF直線振動篩
-
CZ系列倉壁振動器
CZ系列倉(cang)壁振(zhen)動器(振(zhen)打器)可(ke)用于(yu)清除各種倉(cang)壁、管道粘結(jie)物(wu)料(liao),防(fang)止和(he)排除各種料(liao)倉(cang)由于(yu)物(wu)料(liao)的內磨擦(ca)、潮解、帶電、成份偏析(xi)等(deng)原因(yin)引起的堵(du)塞、搭拱現象(xiang)。
立即了解?CZ系列倉壁振動器
-
ZG系列慣性振動器
ZG系列慣性振動(dong)器(qi)(qi)可直(zhi)接用于作(zuo)為倉(cang)壁(bi)振動(dong)器(qi)(qi)且慣性振動(dong)器(qi)(qi)使用方便、結構簡單是利(li)用裝在特制的(de)(de)雙出軸三相異(yi)步電機轉子兩端的(de)(de)偏(pian)心塊提供振動(dong)力的(de)(de)一(yi)種(zhong)新型振動(dong)驅動(dong)裝置。
立即了解?ZG系列慣性振動器
-
GZ系列電磁振動給料機
GZ系列電磁(ci)振動給(gei)料(liao)機在生產流程(cheng)中(zhong),用(yong)于把塊狀、顆(ke)粒狀、粉狀物料(liao)從貯料(liao)倉或漏斗中(zhong)定量(liang)、均勻、連續地給(gei)到受料(liao)裝(zhuang)置(zhi)中(zhong)去。
立即了解?GZ系列電磁振動給料機